大倾角输送机输送角度范围在30-90°之间,并不是所有的大倾角输送机能做到垂直90°,主要是根据物料的颗粒度大小特征来设计输送角度。
当物料的颗粒度大于2公分以上的话,建议输送角度在30-70°之间,角度超过70度,输送量很难达到较好的效果,会造成物料往下撒料,而物料越大的时候,输送角度会更小一些,比如物料的粒度超过10公分以上,建议的输送角度不能超过50°,随着物料粒度越大,输送能力和输送角度会越降低。
当大倾角输送机角度在70-90°之间的时候,一般输送为小颗粒和粉状的物料。
大倾角输送带形式:
根据物料的大小和输送角度,选择的输送带形式也是不同的;大倾角波纹挡边输送带带由基带、挡边和隔板组成;
基带外观同普通的输送带,但横向刚度更大,挡边为波浪状,隔板按其不同的断面可分为:T型、C型和TC型;T型适用于倾角β≤40°场合,C型适用于倾角β>40°且物料流动性较好的场合,TC型适用于倾角β>40°,物料粘性较大,粘度较大的场合。
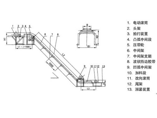
大倾角皮带输送机的主要优点:
(1)大倾角皮带输送机的输送倾角大,大可达90°,是大倾角输送和垂直提升的理想设备。因此可以节约占地面积,节省设备投资和土建费用,取得良好的综合经济效益。例如,某用户欲将煤炭提升到20m高的料仓顶,如采用挡边机以45°倾角输送,则机长仅需28.3m(水平机长20m);而如果采用垂直输送的挡边机,那么,水平机长可以控制在6m以内。
(2)结构简单。如前所述,各主要部件均可与通用带象和斗式提升机经常发生的打滑、掉斗现象。它的可靠度几乎与通常带式输送机相等。
(4)运行平稳、噪声小。
(5)由于在装料时不存在开挖阻力,在运行中不存在材料摩擦和外部摩擦阻力,因此能耗小。
(6)垂直挡边机还可以在机头和机尾设置任意长度的水平输送段。

上一篇: 板式给料机分类
下一篇: LS水平式螺旋输送机